2 inch central vacuu
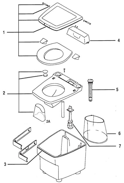
Recirculating Toilet...
by hotrod
The flexible connect
Recirculating Toilet...
by hotrod
Prepare the toilet's
Recirculating Toilet...
by hotrod
|
|||||
|
|---|
| No portion of this page, text, images or code, may be copied, reproduced, published or distributed in any medium without the expressed written permission of the copyright holder. |